Ref No
Part Number
Description
Serial Range
Qty
Price
Ref No 1
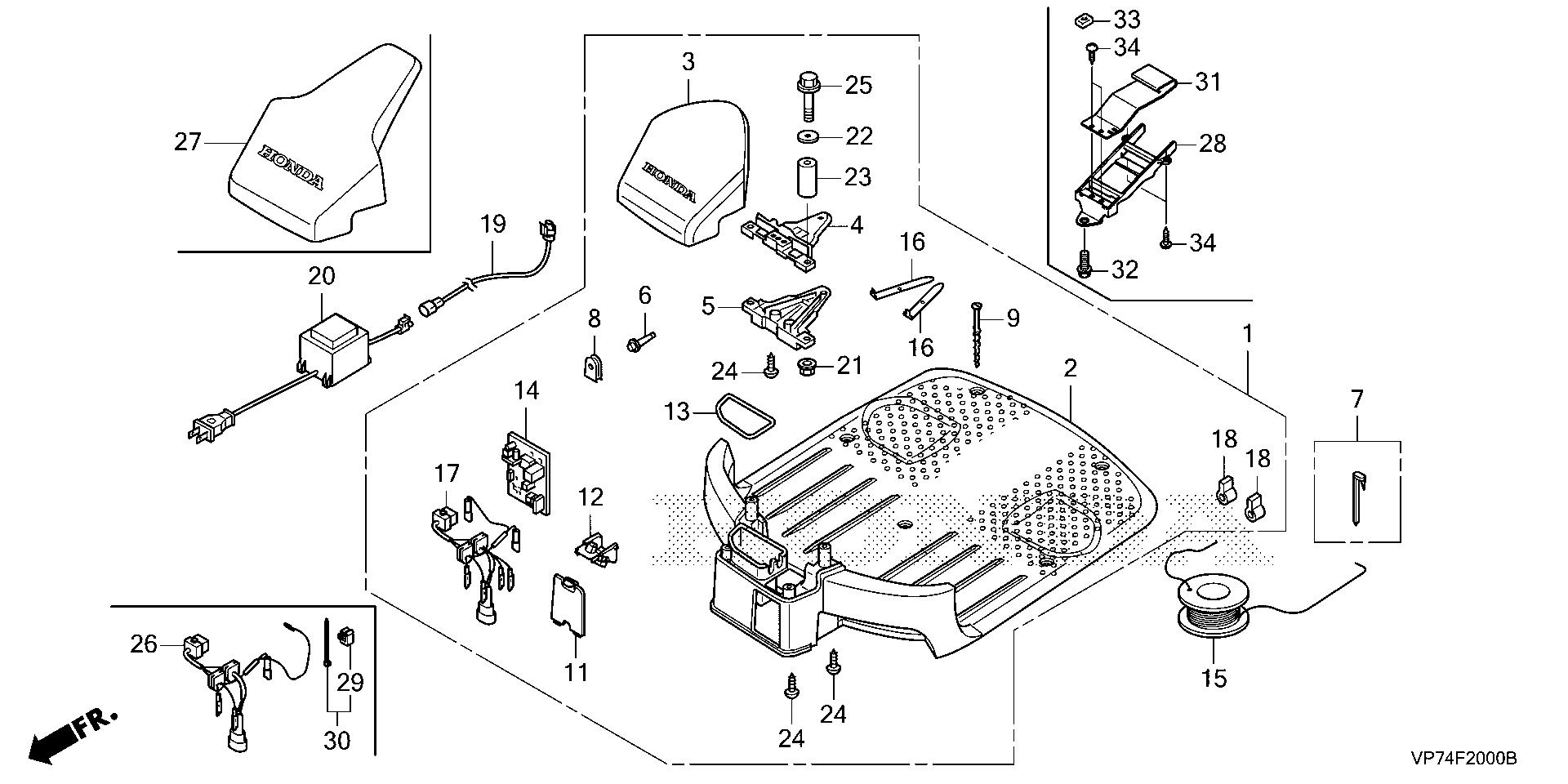
Part Number 31200-VP7-A00
Description STATION ASSY.
Serial Range 1000001 - 9999999
Ref No 1
Part Number 31200-VP7-A01
Description STATION ASSY.
Serial Range 1000001 - 9999999
Qty
Price $392.83
Add To Cart
Ref No 2
Part Number 31220-VP7-A00
Description STATION
Serial Range 1000001 - 9999999
Qty
Price $70.76
Add To Cart
Ref No 3
Part Number 31221-VP7-000
Description COVER, STATION
Serial Range 1000001 - 9999999
Qty
Price $9.12
Add To Cart
Ref No 4
Part Number 31222-VP7-000
Description COVER, CHARGE PLUG (UPPER)
Serial Range 1000001 - 9999999
Qty
Price $8.90
Add To Cart
Ref No 5
Part Number 31223-VP7-000
Description COVER, CHARGE PLUG (LOWER)
Serial Range 1000001 - 9999999
Qty
Price $10.06
Add To Cart
Ref No 6
Part Number 31224-VP7-000
Description LENS, STATION INDICATOR
Serial Range 1000001 - 9999999
Qty
Price $5.30
Add To Cart
Ref No 7
Part Number 31225-VP7-000
Description PEG SET, AREA WIRE (50 PIECES)
Serial Range 1000001 - 9999999
Qty
Price $23.46
Add To Cart
Ref No 8
Part Number 31226-VP7-000
Description GROMMET, INDICATOR LENS
Serial Range 1000001 - 9999999
Qty
Price $11.42
Add To Cart
Ref No 9
Part Number 31227-VP7-000
Description PEG, STATION
Serial Range 1000001 - 9999999
Qty
Price $0.10
Add To Cart
Ref No 10
Part Number 31228-VP7-000
Description PEG, AREA WIRE
Serial Range 1000001 - 9999999
Qty
Price $0.70
Add To Cart
Ref No 11
Part Number 31231-VP7-000
Description COVER, STATION HARNESS
Serial Range 1000001 - 9999999
Qty
Price $2.78
Add To Cart
Ref No 12
Part Number 31232-VP7-000
Description BASE, CONNECTOR
Serial Range 1000001 - 2014247
Qty
Price $4.98
Add To Cart
Ref No 12
Part Number 31232-VP7-D10
Description BASE, CONNECTOR
Serial Range 2014248 - 9999999
Qty
Price $4.60
Add To Cart
Ref No 13
Part Number 31251-VP7-000
Description SEAL, STATION
Serial Range 1000001 - 9999999
Qty
Price $2.98
Add To Cart
Ref No 14
Part Number 31570-VP7-A02
Description PCB ASSY., STATION
Serial Range 1000001 - 9999999
Qty
Price $404.02
Add To Cart
Ref No 15
Part Number 31575-VP7-000
Description WIRE, AREA (300M) (2.3MM)
Serial Range 1000001 - 9999999
Qty
Price $180.84
Add To Cart
Ref No 16
Part Number 31576-VP7-000
Description PLUG, CHARGE
Serial Range 1000001 - 9999999
Qty
Price $13.48
Add To Cart
Ref No 17
Part Number 31577-VP7-A00
Description HARNESS ASSY., STATION
Serial Range 1000001 - 9999999
Qty
Price $28.74
Add To Cart
Ref No 18
Part Number 31579-VP7-000
Description SLEEVE (RED)
Serial Range 1000001 - 9999999
Qty
Price $4.22
Add To Cart
Ref No 19
Part Number 31782-VP7-C01
Description CABLE, EXTENSION
Serial Range 1000001 - 9999999
Qty
Price $51.08
Add To Cart
Ref No 20
Part Number 31786-VP7-C01
Description TRANSFORMER ASSY. (US)
Serial Range 1000001 - 9999999
Qty
Price $58.36
Add To Cart
Ref No 21
Part Number 90302-VP7-000
Description NUT, FLANGE (6MM)
Serial Range 1000001 - 9999999
Qty
Price $7.96
Add To Cart
Ref No 22
Part Number 90401-ZA0-000
Description WASHER, PLAIN (6.5X15)
Serial Range 1000001 - 9999999
Qty
Price $1.32
Add To Cart
Ref No 23
Part Number 91557-Z28-300
Description COLLAR, CARRY GRIP
Serial Range 1000001 - 9999999
Qty
Price $2.84
Add To Cart
Ref No 24
Part Number 93913-15420
Description SCREW, TAPPING (5X16) (PO)
Serial Range 1000001 - 9999999
Ref No 25
Part Number 95701-06032-00
Description BOLT, FLANGE (6X32)
Serial Range 1000001 - 9999999
Qty
Price $2.30
Add To Cart