Generators EN EN5000 EN5000 A EZGC-1000001-9999999 LABELS - Cache Honda

Ref No
Part Number
Description
Serial Range
Qty
Price

Ref No
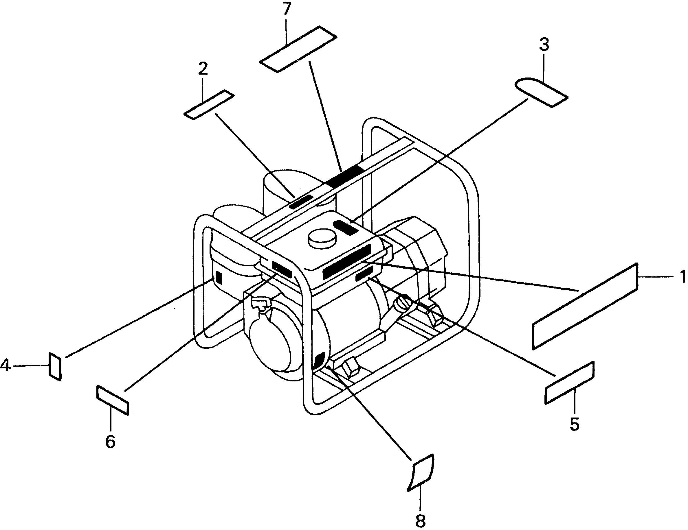
1
Part Number
87150-Z01-G31
Description
PLATE A, CAUTION (EN5000) (NOT AVAILABLE)
Serial Range
1000001 - 9999999

Ref No
2
Part Number
87168-ZC3-630
Description
LABEL, RAIN WARNING (ENGLISH)
Serial Range
1000001 - 9999999
Qty
Price
$5.22

Ref No
3
Part Number
87522-883-660
Description
MARK, CAUTION (ENGLISH/FRENCH/SPANISH)
Serial Range
1000001 - 9999999
Qty
Price
$4.86

Ref No
4
Part Number
87528-ZE2-810
Description
MARK, CHOKE (ORANGE)
Serial Range
1000001 - 9999999
Qty
Price
$3.22

Ref No
5
Part Number
87532-ZH8-810
Description
MARK, OIL ALERT (ENGLISH) (NOT AVAILABLE)
Serial Range
1000001 - 9999999

Ref No
6
Part Number
87561-880-600
Description
MARK, CAUTION (ENGLISH/FRENCH/SPANISH)
Serial Range
1000001 - 9999999
Qty
Price
$5.40

Ref No
7
Part Number
87563-ZB4-631
Description
LABEL, CONNECT WARNING (ENGLISH)
Serial Range
1000001 - 9999999
Qty
Price
$6.62

Ref No
8
Part Number
87594-ZB4-A00
Description
MARK, OIL CAUTION
Serial Range
1000001 - 9999999
Qty
Price
$4.18